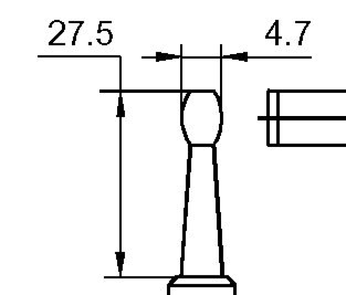
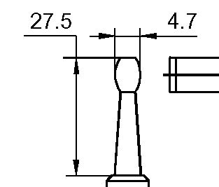
Tube Micrometer, from 4,7 mm
SOLD OUT
NO PRIVATE SALE !!
B2B Company-Store ( business-to-business )